温度传感器温度计安装方式
2023-08-09 10:00:00
安博体育在线注册,安博体育(中国)
温度传感器温度计安装方式
1、安装使用注意事项:
按照被测介质的特性及操作条件,
选用合适材质、厚度及结构的保护套管和垫片。
热电偶安装的地点、深度、方向和接线应符合测量技术的要求。
热电偶与补偿导线接头处的环境温度最高不应超过100℃。
使用于0℃以下的热电偶,应在其接线座下灌蜡密封,使其与外界隔绝。
2、热电偶、热电阻温度计安装方式:
a.直形连接头:直插。
b.45°角连接头:斜插。
c.法兰:直插。
d.高压套管(有固定套管和可换套管)。
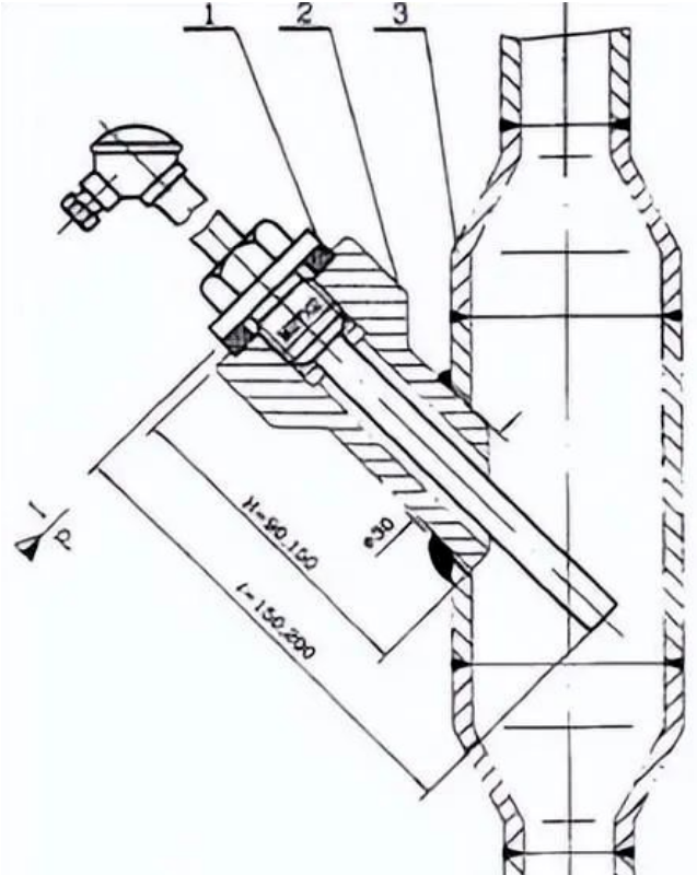
3、热电阻、热电偶在耐酸钢扩大管上安装图
a.垫片
b.45度角连接图
c.温度计扩大管

4、热电阻、热电偶在钢肘管上安装图
a.垫片
b.45°角连接图

5、表面热电偶安装图
材料是表面热电偶直形连接头

6、用翻边松套法兰固定的热电偶热电阻在铝管道上安装图
a.铝保护套管
b.翻边松套法兰接管

TAG:
温度传感器,温度计